

| 深井式淬火槽 |
| 时间: 2012-10-29 |
|
深井式淬火槽
这类淬火描用于大型轴类工件淬火,图1为3.5m X 19m深井式淬火油槽槽体结构形式。它采用大流量离心泵。流量为290m3/h,使油循环流动,
![]() 图1 深井式淬火油槽
1一油槽体3.5mX19m 2一溢流槽 3一防火喷干粉管 4一槽盖 5一排烟管 6一热油自重流出管直径325mm 7一进油管直径219mm
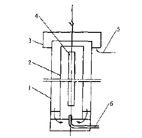
图2为带导向筒的深井式淬火油槽结构形式。导向筒可提高油流经淬火件的速度,但缩小了淬火空间。
![]() 图2 带导向筒的深井淬火油槽
1一淬火油槽体 2一导向筒 3一溢流槽 4一工件 5一排油管 6一进油管
图3为分层喷液深井式油槽结构形式,油由几排环形支管,沿其圆周的供油口喷射进人淬火槽,此种沿圆周喷人介质的方式,应注意防止形成环形和层状的介质流动。该淬火槽底装有排液管,槽上设有支撑淬火件的活动横梁。
![]() 图3 分层喷液的深井淬火油槽
|
|
上一篇: 普通型间隙作业淬火槽结构形式 下一篇: 淬火介质搅拌的作用 |