

| 淬火介质冷却方法 |
| 时间: 2018-11-05 |
|
淬火槽淬火介质冷却方法
1、淬火介质自然冷却
依靠液面散热,其散热能力很差,一般仅1~3℃/h。
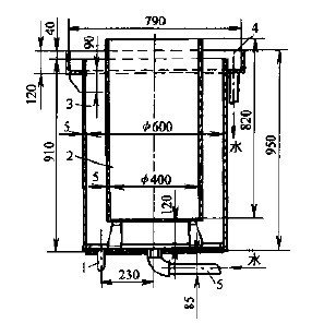
2、淬火介质水套式冷却
其办法是在淬火槽外设冷却水套,这种方法热交换面积很小,很难达到良好效果,图1为带冷却水套的淬火槽.
![]() 图1 带冷却水套的淬火槽
1—放水孔 2一淬火槽 3一冷却水套 4一冷却水溢流槽 5一冷却水供人管
3、淬火介质蛇形管冷却
将铜管或钢管盘绕布置在淬火槽内侧,通人冷却水,冷却淬火介质。此法虽有较大换热面积,但主要冷却槽四周的介质,槽中央仍有较大温差,需加强介质的搅拌才能减小槽内介质的温差。图2为带蛇形冷却管的淬火槽。
![]() 图2 装有蛇形冷却管的淬火槽
a)螺旋形蛇形管 b)波形蛇形管
4、淬火槽独立配冷却循环系统一个淬火槽独立配冷却循环系统,结构较紧凑,储油量也较少,有如下几种结构形式。
(1)小型淬火槽自身配冷却器,这种结构是将小型冷却器直接安在淬火槽内的油循环通道中,如图3所示。
![]() 图3 自身带冷却器的淬火槽
1—顶盖 2一蒸发气体出口 3一搅拌器 4-循环通道 5-热交换器 6—柑槽 7—紧急排放阀 8—介质加热器 9—冷却水进口 10一电磁阀 11一冷却水出口 12—连接排气扇
(2)淬火槽配设冷却循环系统,图4为配有冷却循环系统的独立淬火油槽。该槽还设有可移动的小车,可为多台小型热处理炉服务。
![]() 图4 有冷却循环系统移动式淬火槽
1—放油管阀门 2—出水管接头 3—进水管接头 4一滤油器外壳 5一行轮 6一滤油器盖 7—过滤网 8—管子堵头 9—油泵 10—冷却管夹头 11—冷却管 12—电磁开关 l3—油冷器外壳 14—马达架 15—马达 16—淬火槽支架 17—淬火槽
|
|
上一篇: 淬火槽加热装置 下一篇: 淬火介质冷却循环系统-集液槽 |